Page 398 

Chapter 12 Equipment

Anaesthetic Equipment

Gases

Cylinders

Gas cylinders are manufactured from chromium molybdenum steel as a seamless tube.

Colours. Conform to International Standards Organization (Table 12.1).

Table 12.1 Gas cylinder colours

  Body Shoulder
Oxygen Black White
Nitrous oxide French blue French blue
Air Grey Black/white
Carbon dioxide Grey Grey
Helium Brown Brown
Cyclopropane Orange Orange
Entonox French blue French blue/white
Nitric oxide Pink Pink

Marks on cylinders. Test pressure, dates of test, chemical formula of gas and tare weight (i.e. weight when empty).

Gas pressures

N2O – 51.6 bar (liquid). No reduction in cylinder pressure until 75% empty
CO2 – 44 bar (liquid)
Cyclopropane – 4 bar (liquid)
O2 – 137 bar
Entonox – 137 bar.

Filling ratio = weight of gas in cylinder/weight of water cylinder would hold. For CO2 and N2O, filling ratio = 0.75 in temperate climates and 0.67 in tropics.

  Page 399 

Vacuum

Vacuum required to give 0.53 kPa pressure below atmospheric pressure, producing 40 L/min suction of air.

Anaesthetic machine safety features

Copper reinforced gas hoses to prevent kinking, with specific colours for each gas. Non-interchangeable Schraeder valves at wall with different threads to connect to the anaesthetic machine
One-way valves at yokes to prevent leaks
Pin index system for cylinders
Pressure-reducing valves (from 137 to 4 bar)
Sintered bronze filters proximal to rotameters to prevent ingress of dust
Oxygen flow knob on rotameter more proud than others with serrated surface
Oxygen enters fresh gas flow from rotameter last
Rotameters have a stop to prevent bobbin disappearing from site at high gas flows
Gold/tin coating on surface of rotameter to prevent static electricity causing bobbin to stick
Flow restrictors sited proximal to rotameters to protect them from sudden surges in pressure and distal to rotameters to protect them from back pressure
Interlocking vaporizers
Oxygen failure alarm
Emergency O2 flush without locking valve (>35 L/min)
Air entrainment if oxygen delivery fails
Blow-off valve at 43 kPa to protect back bar
Blow-off valve in patient circuit at 5 kPa.

Checking Anaesthetic Equipment 3

Association of Anaesthetists of Great Britain and Ireland 2004

Full checklist is the responsibility of the anaesthetist and should be performed prior to each operating session.

1. Check that the anaesthetic machine is connected to the electricity supply (if appropriate) and switched on

Note: Some anaesthetic workstations may enter an integral self-test programme when switched on; those functions tested by such a programme need not be retested.

Take note of any information or labelling on the anaesthetic machine referring to the current status of the machine. Particular attention should be paid to recent servicing. Servicing labels should be fixed in the service logbook.
2. Check that all monitoring devices, in particular the oxygen analyser, pulse oximeter and capnograph, are functioning and have appropriate alarm limits
Check that gas sampling lines are properly attached and free of obstructions.
Check that an appropriate frequency of recording non-invasive blood pressure is selected.
3. Check with a ‘tug test’ that each pipeline is correctly inserted into the appropriate gas supply terminal

Note: Carbon dioxide cylinders should not be present on the anaesthetic machine unless requested by the anaesthetist. A blanking plug should be fitted to any empty cylinder yoke.

Check that the anaesthetic machine is connected to a supply of oxygen and that an adequate supply of oxygen is available from a reserve oxygen cylinder.
Check that adequate supplies of other gases (nitrous oxide, air) are available and connected as appropriate.
Check that all pipeline pressure gauges in use on the anaesthetic machine indicate 400–500 kPa.
4. Check the operation of flowmeters (where fitted)
Check that each flow valve operates smoothly and that the bobbin moves freely throughout its range.
Check the anti-hypoxia device is working correctly.
Check the operation of the emergency oxygen bypass control.
5. Check the vaporizer(s)
Check that each vaporizer is adequately, but not over, filled.
Check that each vaporizer is correctly seated on the back bar and not tilted.
Check the vaporizer for leaks (with vaporizer on and off) by temporarily occluding the common gas outlet.
Turn the vaporizer(s) off when checks are completed.
Repeat the leak test immediately after changing any vaporizer.
6. Check the breathing system to be employed
Inspect the system for correct configuration. All connections should be secured by ‘push and twist’.
Perform a pressure leak test on the breathing system by occluding the patient-end and compressing the reservoir bag. Bain-type co-axial systems should have the inner tube compressed for the leak test.
  Page 400 

Vaporizers

Because desflurane has such a high saturated vapour pressure (88 kPa), standard vaporizers are unsuitable for its storage and delivery. Use of a conventional vaporizer would require very high fresh gas flows to achieve 1 MAC equivalent of desflurane. The low boiling point of desflurane (24°C) also makes a conventional vaporizer unsuitable. The Tech 6 desflurane vaporizer (Fig. 12.1) uses a servo-controlled electronic system which heats the vaporizer chamber to a constant 39°C (higher than the boiling point) at a pressure of 1500 mmHg. The desflurane is delivered into the fresh gas flow (FGF) at equal pressures through a pressure-regulating valve which increases desflurane delivery as the FGF increases. Unlike conventional ventilators, use of the Tech 6 vaporizer at high altitude requires manual adjustment to increase desflurane concentrations.

image

Figure 12.1 Desflurane vaporizer.

(Reproduced with permission from New Generation Vaporizers, Pharmacia.)

  Page 401 

Ventilators

Nuffield 200 series ventilator

This is a time-cycled pressure generator. It has variable expiratory and inspiratory timers and a variable inspiratory flow rate control (Fig. 12.2).

image

Figure 12.2 Nuffield Penlon 200 ventilator – inspiratory mode.

(Reproduced with permission from Davey et al 1992.)

Paediatric Newton valve. Capable of delivering tidal volume between 10 and 300 mL at flow rates of 0.5–18 L/min. At small tidal volumes, pressure-controlled ventilation is preferable to volume-controlled ventilation because the final volume delivered is dependent upon circuit leaks, circuit compliance and fresh gas flow rates.

Bibliography

Andrews J.J., Johnston R.V. The new Tech 6 desflurane vaporizer. Anesth Analg. 1993;76:1338-1341.

Association of Anaesthetists of Great Britain and Ireland. Checking anaesthetic equipment, vol 3. AAGBI, London, 2004.

  Page 402 

Cartwright D.P., Freeman M.F. Vaporisers. Anaesthesia. 1999;54:519-520.

Davey A., Moyle J.T., Ward C.S., editors. Ward’s anaesthetic equipment, ed 3, London: WB Saunders, 1992.

Gardner M.C., Adams A.P. Anaesthetic vaporizers: design and function. Curr Anaesth Crit Care. 1996;7:315-321.

Howell R.S.C. Medical gases (1) Manufacture and uses. Kaufman L., editor. Anaesthesia review, vol 7. Churchill Livingstone, Edinburgh, 1989;87-104.

Howell R.S.C. Medical gases (2) Distribution. Kaufman L., editor. Anaesthesia review, vol 8. Churchill Livingstone, Edinburgh, 1990;195-210.

Breathing Circuits

Mapleson’s classification of breathing systems

For all adult circuits, a 110 cm hose holds a volume of 550 mL. T-piece reservoir should equal the tidal volume (more reservoir volume causes increased resistance and re-breathing).

image

Figure 12.3 Mapleson’s classification of breathing systems.

Table 12.2 Breathing circuit flow rates

Mapleson classification Spontaneous ventilation IPPV
A 70 mL/kg per min 2.5 × MV
B 2.5 × MV 2.5 × MV
C 2.5 × MV 2.5 × MV
D 2.5 × MV 70 mL/kg per min
E - Adult 2.5 × MV 2.5 × MV
E < 20 kg 3 (1000 + 100 mL/kg) 1000 + 100 mL/kg (minimum flow = 3 L)
or 3 (5 × frequency × kg) 5 × frequency × kg
Lack (coaxial A) 50 mL/kg per min  
Bain (coaxial D)   70 mL/kg per min
  Page 403 
  Page 404 

Paediatric circuits

Deadspace and resistance are most important during spontaneous respiration. Circuit resistance is higher with smaller circuits (∝ 1/r4). Use of low flows with T-piece or Bain circuit results in carbon dioxide being re-breathed only at the latter part of inspiration, which may not affect alveolar ventilation. Re-breathed gas has the advantage of being warm and humidified.

Circle systems

Re-breathing was introduced by Snow in 1850. Circle systems were pioneered by Sword in 1926.

Anaesthetic circuits

Open circuit – respiratory tract open to the atmosphere and no rebreathing, e.g. open drop mask for ether
Semi-open circuit – anaesthetic gases carried by fresh gas but may be diluted with room air
Semi-closed circuit – anaesthetic gases carried by fresh gas and no dilution with room air, e.g. Mapleson D
Closed circuit – respiratory tract closed to the atmosphere on both inspiration and expiration.

Advantages of closed-circuit anaesthesia

Conservation of heat
Maintenance of humidity of inspired gases
Additional monitoring of oxygen consumption, circuit leaks and tidal volume
Oxygen reservoir if failure of supply
Decreased pollution
Less volatile agent used, with cost saving.
  Page 405 

Disadvantages of closed-circuit anaesthesia

Cost of circle system and soda lime
Complexity of system
Unsuitable for short operations when equilibration does not have time to occur
Possible to deliver hypoxic mixtures of gases or mixtures with little volatile, leading to awareness
Slow changes in depth of anaesthesia
Accumulation of anaesthetic metabolites.

Carbon dioxide absorber

Soda lime contains:

94% Ca(OH)2
5% NaOH
1% KOH
trace of silicates (prevent powdering)
15% water (more efficient CO2 absorption and less absorption of anaesthetic gases)
pH indicator, e.g. Clayton Yellow turning from pink to white when exhausted.

Size 4–8 mesh (i.e. granules ¼ – ⅛ inch in diameter); 50% volume of canister is granules, 50% is air. Pack tightly to avoid channelling.

Reaction of soda lime


image


Temperature within canister may exceed 60°C. Canister should at least equal tidal volume. Therefore, minimum 500 g soda lime becomes exhausted after about 2 h; 100 g soda lime can theoretically absorb 25 L of CO2, but this figure is reduced by channelling and uneven absorption. Large cylinders contain 2 kg soda lime which can be inverted once the upper chamber becomes exhausted. ‘Regeneration’ of soda lime on standing occurs due to migration of hydroxyl ions to the surface of granules.

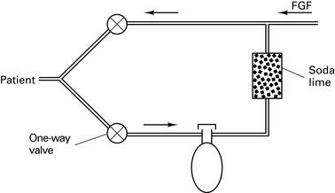
Circle layout

There are 64 different possible combinations of layout. The most efficient has been found to be that shown in Figure 12.4.

image

Figure 12.4 Layout for optimal circle system.

  Page 406 

Equilibration of circle gases

The wash-in and wash-out curves for changes in vapour concentration within a closed circuit are exponential. Assuming net gas uptake is minimal:


image


1 Tc = 63% equilibration of FGF with circle gases
2 Tc = 86% equilibration of FGF with circle gases
3 Tc = 95% equilibration of FGF with circle gases.

For example, in a circuit of volume 4 L with FGF = 8 L/min, Tc = 0.5 min. Therefore, 95% of any change in the percentage of volatile selected will be reflected in the circuit within 1.5 min (Tc × 3). However, at low FGF, e.g. 1 L/min, Tc = 2 min and therefore 95% equilibration will not be achieved until 12 min. Hence, increase flow rather than volatile to deepen anaesthesia.

At low flow rates of O2 and N2O into a circle system, the uptake of N2O exceeds that of O2, and the [O2] in the circle exceeds that set by the rotameters. After 30 min equilibration, uptake of N2O is less than that of O2, and the [N2O] in the circle exceeds that set by the rotameters. After the start of an anaesthetic, 15 mL/kg N2 will be released from tissues, lowering [N2O]. This effect is lessened with denitrogenation prior to closing the circuit.

Thus it is difficult to predict exact concentrations of gases, so use of anaesthetic gas monitoring is mandatory to prevent hypoxic mixtures or mixtures that are deficient in volatile, resulting in awareness. Monitor expired gases, which are a better reflection of alveolar gas concentrations than inspired gases.

  Page 407 

Principles of closed circuit volatile administration


image


Direct administration of volatiles into the circuit was pioneered by Lowe.

Uptake of volatile ∝ 1/√time, so the same dose of volatile is taken up between each square of time after induction, i.e. 1, 4, 9, 16, etc. min. Thus one dose is taken up by 1 min after induction, two doses by 4 min after induction, three doses by 9 min after induction, etc. This does not take into account the amount of volatile needed to prime the circuit or any uptake by soda lime or rubber in the circuit. Therefore, extra priming dose needs to be given within the first 9 min.

Aim for ED95 of volatile within circuit, i.e. ≈︀1.3 MAC. Thus, at any time after induction, volatile anaesthetic uptake is as follows:


image


where:

QAN = uptake of anaesthetic

λB/G = blood/gas solubility of volatile.

Vaporizer outside circle (VOC)

At high FGFs, the volatile concentration inspired by the patient will approach that leaving the vaporizer (Fig. 12.5).

image

Figure 12.5 Effect of fresh gas flow (FGF) on the percentage of volatile inspired for vaporizers outside the circle.

  Page 408 

Vaporizer inside circle (VIC)

At low FGFs, the volatile concentration inspired by the patient will be much higher than that leaving the vaporizer (Fig. 12.6).

image

Figure 12.6 Effect of fresh gas flow (FGF) on the percentage of volatile inspired for vaporizers inside the circle.

Draw-over vaporizers for VIC must not have wicks, because water vapour from saturated gases condenses on them to cause inaccurate volatile delivery. Need draw-over vaporizer with low internal resistance if using spontaneous respiration, e.g. Goldman vaporizer. Plenum vaporizers have too high an internal resistance.

Products of reactions with absorbents

Carboxyhaemoglobinaemia

In 1995, reports were received from the USA of patients developing significant carboxyhaemoglobinaemia during anaesthesia. This phenomenon was only observed while using halogenated volatile agents (enflurane, isoflurane, desflurane) in association with circle systems. Cases usually occurred on Monday mornings when oxygen had been left flowing through the circuit over the weekend.

Further investigation found that barium hydroxide (baralyme) in the canister was generating significant amounts of carbon monoxide, particularly at low water content as it dried out. Dry baralyme or soda lime (e.g. gas flowing through an anaesthesia circuit over a weekend period) results in excessive carbon monoxide formation due to reaction with KOH, which may reach fatal levels (35 000 ppm CO documented with desflurane; safe limit is 35 ppm for 1 h). In the UK, barium hydroxide is not available and soda lime (⅓ the amount of KOH compared with baralyme) only dries significantly (<2% water) in circuits where the FGF is placed upstream from the absorbent canister – an arrangement not found in circle systems in the UK. No cases of carboxyhaemoglobinaemia have been reported in the UK and it is thought unlikely that the problems seen in the USA will occur in the UK.

  Page 409 

Compound A

Trichloroethylene is decomposed by soda lime to phosgene (toxic). Sevoflurane is decomposed by soda lime and baralyme to compounds A, B, C, D and methanol. Concentrations of compound A in circle systems produce renal injury in rats, but humans are less sensitive. Now believed that compound A has a considerable margin of safety in humans at the concentrations typically found during low-flow sevoflurane anaesthesia (around 15 ppm). Nevertheless, the Food and Drugs Administration (regulatory body for the USA) has set a 1 L.min−1 lower limit for gas flow during sevoflurane anaesthesia. No limit exists in the UK.

In 1999, a novel absorbent was introduced (Amsorb) which contains no strong alkali. Amsorb utilizes hygroscopic agents to ensure that the CaOH does not dry. Amsorb therefore produces no carbon monoxide or compound A.

Excessive heat

In November 2003, the Food and Drugs Administration issued a warning relating to 16 cases of overheating in breathing systems when sevoflurane was being used. The cause was a reaction between the volatile agent and dry KOH. The cases reported from the USA included melting of absorber canisters, smoke, and two explosions. No such incidents have ever been reported in the UK.

Bibliography

Baxter P.J., Garton K., Kharasch E.D. Mechanistic aspects of carbon monoxide formation from volatile anesthetics. Anesthesiology. 1998;89:929-941.

Committee on Safety of Medicines. Circle systems and volatile agents. Curr Prob. 1997;23:7.

Jones M.J. Breathing systems and vaporizers. In: Nimmo W.S., Rowbotham D.J., Smith G., editors. Anaesthesia. ed 2. Oxford: Blackwell Scientific; 1994:486-505.

Nunn G. Low-flow anaesthesia. Contin Educ Anaesth, Crit Care Pain. 2008;8:1-4.

Schober P., Loer S.A. Closed system anaesthesia – historical aspects and recent developments. Eur J Anaesthesiol. 2006;23:914-920.

Monitoring

Inadequate monitoring or observation causes 8.2% of all anaesthetic fatalities; 90% of ‘monitor-detectable’ incidents would be picked up with the correct use of pulse oximetry or capnography.

Recommendations for Standards of Monitoring During Anaesthesia and Recovery

Association of Anaesthetists of Great Britain and Ireland 2007 (4E)

The Association of Anaesthetists of Great Britain and Ireland regards it as essential that certain core standards of monitoring must be used whenever a patient is anaesthetized. These minimum standards should be uniform irrespective of duration, location or mode of anaesthesia.

The anaesthetist must be present and care for the patient throughout the conduct of an anaesthetic.
Monitoring devices must be attached before induction of anaesthesia and their use continued until the patient has recovered from the effects of anaesthesia.
The same standards of monitoring apply when the anaesthetist is responsible for a local/regional anaesthetic or sedative technique for an operative procedure.
A summary of information provided by monitoring devices should be recorded on the anaesthetic record. Electronic record-keeping systems are now recommended.
The anaesthetist must ensure that all equipment has been checked before use. Alarm limits for all equipment must be set appropriately before use. Audible alarms must be enabled during anaesthesia.
These recommendations state the monitoring devices which are essential and those which must be immediately available during anaesthesia. If it is necessary to continue anaesthesia without a device categorized as ‘essential’, the anaesthetist must clearly note the reasons for this in the anaesthetic record.
Additional monitoring may be necessary as deemed appropriate by the anaesthetist.
A brief interruption of monitoring is only acceptable if the recovery area is immediately adjacent to the operating theatre. Otherwise, monitoring should be continued during transfer to the same degree as any other intra- or inter-hospital transfer.
Provision, maintenance, calibration and renewal of equipment is an institutional responsibility.
  Page 410 

Inspired oxygen concentration

Fuel cell

In a fuel cell (Fig. 12.7), the current is proportional to the partial pressure of oxygen:

image

Figure 12.7 Fuel cell.


image


  Page 411 

Clarke electrode

In a Clarke electrode (Fig. 12.8) the current is proportional to the partial pressure of oxygen. This type of electrode is usually used in blood gas machines.

image

Figure 12.8 Clarke electrode.


image


Paramagnetic analysis

Based on the fact that oxygen is paramagnetic and attracted towards magnetic fields. Most other gases are diamagnetic and repelled from magnetic fields.

  Page 412 

Dumb-bells analyser. Consists of nitrogen-filled dumb-bells with each ball resting within a magnetic field. Any oxygen in the sample gas is attracted into the magnetic field and displaces the nitrogen dumb-bells out of the magnetic field. As the dumb-bells swing, a mirror attached to them displaces a light beam onto photocells.

Datex analyser. The sample gas is separated from the reference gas by a thin diaphragm attached to a pressure transducer. An alternating current applied to the gases causes pressure oscillations across the diaphragm, which is displaced in proportion to the oxygen concentration in the sample gas.

Pulse oximeter

Mechanism

Light is transmitted through tissue at two alternating wavelengths:

red at 660 nm
near infrared at 940 nm (not visible).

Beer’s law, used to calculate the absorption (Fig. 12.9), states:

image

Figure 12.9 Absorption spectra of haemoglobin and oxyhaemoglobin.


image


where:

It = intensity of reflected light

Io= intensity of incident light

d = distance light is transmitted through liquid

c = concentration of solute

e = extinction coefficient of solute.

The pulse oximeter measures the variation in absorption caused by the arterial pulse, cancelling out the effects of other tissues, venous blood and background light (Fig. 12.10). It is accurate to within 2%, but falls to ± 5% with saturations below 80%.

image

Figure 12.10 Composition of the absorption spectra.

(Reproduced with permission from Davey et al 1992.)

Factors affecting accuracy

Smoking: overestimates the saturation by the percentage of HbCO present (≈︀3% in urban dwellers, 15% in heavy smokers)
Methaemoglobin: saturation tends towards 85%
Cardiac dyes: cause underestimation
HbF and hyperbilirubinaemia have no effect on accuracy of readings
Extraneous light, motion artefact and diathermy all interfere with absorption
Atrial fibrillation and vasoconstriction result in a poor pulse volume, which causes errors in measurement.

Capnography

Uses spectrophotometry to measure absorption of CO2 in sample chamber (Beer’s law) and compares results with known CO2 concentration in a reference chamber (Fig. 12.11).

image

Figure 12.11 Infrared analyser for carbon dioxide.

  Page 414 

Arrangement of sampling chamber

The sampling chamber can have one of two arrangements:

1. Attached close to endotracheal tube to measure absorption directly through fresh and expired gases. Avoids delays in sampling time but necessitates a heavy, bulky detector attached to the endotracheal tube.
2. Sampling tube attached close to endotracheal tube which continuously samples gases at 150 mL/min. Avoids bulky attachment but several seconds delay in measuring expired CO2. If used with a circle system, sampled gas must be returned to the circuit to prevent emptying of the circle gases.

Factors affecting accuracy

Length and size of sampling tubing and rate of sampling
N2O has similar absorption to CO2 and therefore requires compensation in calculations
High respiratory rate, e.g. children, can underestimate PETCO2 if sampling rate is too slow
PEEP and CPAP can cause overestimation of readings
PETCO2 is usually 0.3–0.6 kPa below PaCO2, but with severe COAD it may be >2 kPa.

Patterns of capnography displays

IPPV. During ventilation with a Bain circuit, PETCO2 does not return to zero during inspiration because FGF is less than the minute volume. During inspiration, the trace is distorted by the mixing of expired and fresh gas.

Severe COAD causes a prolonged sloping expiratory phase because of the wide spread in V/image values. Alveoli emptying last have the least ventilation, the lowest V/image and thus the highest PETCO2.

Pulmonary embolus causes a flat expiratory plateau that is lower than the true PETCO2 because of dilution of expiratory gases with air from non-perfused alveoli.

Shunting, e.g. secretions blocking alveoli, causes a rise in PETCO2, but the difference is only small since the AV difference is only ≈︀0.6 kPa.

Clinical uses

Detection of oesophageal intubation
Disconnection/apnoea alarm
Estimation of PaCO2. PETCO2 is 0.3–0.6 kPa less than PaCO2, with the least difference at large tidal volumes. PETCO2 has been measured at higher values than PaCO2, possibly due to time-dependent mismatching of ventilation and perfusion occurring in normal lungs at large tidal volumes
Monitoring IPPV and hyperventilation
PETCO2 with pulmonary embolus, ↓ cardiac output, hyperventilation, hypothermia or hypovolaemia
PETCO2 with hypoventilation, pyrexia or malignant hyperthermia
Detection of re-breathing
Monitors early return of spontaneous respiratory effort
Detects soda lime exhaustion.

Volatile agent monitoring

Drager Narcotest halothane indicator

Uses a rubber band under tension attached to a pointer. Halothane is absorbed by rubber, causing change in elasticity and thus length of the rubber band. Only measures to 3%.

Infrared absorption spectroscopy

Asymmetric, polyatomic molecules absorb infrared radiation, e.g. CO2, N2O. H2 and O2 do not. Similar arrangement as the capnograph CO2 detector. Volatile agents have overlapping absorption spectra (Fig. 12.12) and therefore the gas being measured must be specified.

image

Figure 12.12 Infrared absorption spectrum.

  Page 416 

Piezoelectric crystal

Quartz crystal coated in oil. Volatile agent absorbed into oil which changes the weight and thus the frequency of oscillation of the crystal.

Raman scattering

Argon laser beam is shone through the sample gas. It emerges at a different wavelength, the change being dependent upon the type of volatile agent.

Non-invasive blood pressure

Mercury manometer

Korotkoff sounds:

I – first appearance of pulse
II – reduced intensity of pulsation
III – increased intensity of pulsation
IV – reduced intensity of pulsation
V – loss of all sound ≡ diastole.

Finapres

Utilizes the technique of Penaz. Digital cuff is servo-controlled so that its pressure is equal to the blood pressure in that digit. The pressure waveform of the cuff is calibrated with the systolic, diastolic and mean blood pressures from a conventional cuff and displayed continuously on an oscilloscope. Less accurate with peripheral vasoconstriction and susceptible to movement artefact.

Arterial tonometry

Microtransducers compress a large artery, e.g. brachial, and continuously monitor the arterial blood pressure. Calibrated by standard BP cuff. Not yet available commercially.

Pulse wave detection velocity

Two photometric sensors at different sites, e.g. forehead and finger, compare rate of propagation of the arterial pulse, which is related to blood pressure. Viscoelasticity decreases with age and may affect accuracy in the elderly. Calibrated by standard BP cuff. Not yet available commercially.

Central venous pressure

IPPV increases intrathoracic pressure and overestimates mean CVP. Spontaneous respiration decreases intrathoracic pressure and underestimates mean CVP. Measure the peak pressure of the ‘a’ wave during the end-expiratory pause.

Right atrial pressure is a reasonable indicator of left atrial pressure with normal myocardial and pulmonary function.

  Page 417 

Bibliography

Association of Anaesthetists of Great Britain and Ireland. Recommendations for standards of monitoring during anaesthesia and recovery: report of a Working Party, ed 4. London: AAGBI; 2007.

Lennmarken C., Vegfors M. Advances in pulse oximetry. Curr Opin Anaesth. 1998;11:639-644.

Moyle J.T.B. Pulse oximetry. Principles and practice series. London: BMJ Publishing; 1994.

O’Flaherty D. Capnography. Principles and practice series. London: BMJ Publishing; 1994.

Runciman W.B., Ludbrook G.L. Monitoring. In: Nimmo W.S., Rowbotham D.J., Smith G., editors. Anaesthesia. ed 2. Oxford: Blackwell Scientific; 1994:704-739.

Physics

Gas laws

Henry’s law. Amount of gas dissolved ∝ partial pressure of the gas.

Fick’s law. Rate of diffusion across a membrane ∝ concentration gradient.

Graham’s law. Rate of diffusion ∝ 1/molecular weight.

Charles’ law. The volume of a gas changes in proportion to the change in temperature.

Boyle’s law. The volume of a gas is inversely proportional to pressure.

Gay-Lussac’s law. At constant volume, the absolute pressure of a given mass of gas varies directly with the absolute temperature.

Adiabatic change. A change in pressure, volume or temperature without changes in energy of gas (i.e. heat is lost or added).

Avogadro’s hypothesis

Equal volumes of ‘ideal’ gases at the same temperature and pressure contain the same number of molecules. (Avogadro’s number = 6.022 × 1023 molecules occupying 22.4 L at STP.)

Pressure

Dalton’s law of partial pressures. The pressure exerted by a mixture of gases is equal to the sum of the pressures which each gas would exert on its own.

Vapour pressure. A vapour is saturated when it is in equilibrium with its own liquid, i.e. as many molecules leave the surface as rejoin it. When vapour pressure equals atmospheric pressure, the liquid boils.

  Page 418 

Solubility

Ostwald solubility coefficient. The amount of gas that dissolves in unit volume of liquid under the stated temperature and pressure.

Bunsen solubility coefficient. The amount of gas that dissolves in unit volume of liquid at standard temperature (273 K) and pressure (101.3 kPa).

Temperature

Critical temperature. Temperature above which a gas cannot be liquefied.

Critical pressure. Pressure above which a gas at its critical temperature cannot be liquefied.

Pseudocritical temperature. Temperature at which a mixture of gases separate out into their separate components, e.g. N2O and O2 in Entonox at −5.5°C.

Specific heat capacity. Amount of heat required to increase the temperature of a substance by 1°C/kg.

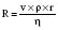
Gas flow

Hagen–Poiseuille equation. For laminar flow:


image


where P = pressure, r = tube radius, L = tube length, η = viscosity.

Liquid tends to flow smoothly in straight and uniform tubes. Abrupt changes in diameter or direction of flow cause turbulent flow, which is dependent upon density (ρ) rather than viscosity.

For turbulent flow:


image


When Reynold’s number (R) exceeds 2000, flow becomes turbulent:


image


Bernoulli effect. Fall of pressure at a constriction in a tube. Increased gas/fluid velocity results in increased kinetic energy with a reduction in potential energy and thus a decrease in pressure.

Venturi devices use the Bernoulli effect for suction, e.g. Venturi oxygen mask.

Coanda effect. Streaming of gas at a division in tubing along only one of the divisions. Used as logic valve in some ventilators.

  Page 419 

Poynting effect. A mixture of gases (e.g. Entonox) remains in a gaseous state, even though one component (N2O) would normally be liquid at high storage pressures.

Humidification

Absolute humidity is the mass of water vapour present in a given volume of air.

Relative humidity is the ratio of the mass of water vapour to the mass of water vapour when fully saturated, expressed as a percentage.

Saturation

Fully saturated air – 44 g/m3
Upper trachea – 34 g/m3
>20 μm drops condense on breathing circuit
5 μm drops settle on trachea
1 μm drops reach alveoli.

Measurements

Hair hygrometer
Regnault’s hygrometer – measures dew point
Electrical resistance
Mass spectrometer.

Methods of humidification

Heat and moisture exchanger – also acts as bacterial filter. Can achieve levels of humidity in trachea of 20–25 g/m3. Cheap
Bubble humidifier – fresh gas is bubbled through water. More efficient if bubbles are small, increasing their surface area. Heated water also improves efficiency by supplying energy for latent heat of vaporization. Bacterial multiplication is prevented by heating water to high temperatures, ≈︀60°C. This risks scalding of patient, so a thermistor is needed near the ETT. Can achieve levels of humidity of 40 g/m3
Venturi effect – humidifies gas to 60 g/m3
Water dropped onto heated wire
Ultrasonic – can achieve levels of humidity >90 g/m3
Spinning plate – can achieve levels of humidity >90 g/m3.

Electricity

Macroshock. Skin-to-skin contact:

1 mA – tingle
15 mA – let-go threshold
  Page 420 
50 mA – respiratory arrest
100 mA – VF.

Microshock. Direct myocardial contact. Current ≥100 µA. Less effect at higher frequency, e.g. diathermy at 20 kHz.

Classification of electrical equipment

Class 1 equipment – earthed metal casing
Class 2 equipment – outer casing protected by double insulation with no exposed metal work; therefore an earth wire is not required
Class BF – surface contact with patient. Maximum patient leak = 100 μA
Class CF – may contact the heart directly. Maximum patient leak = 10 μA.

Bibliography

Parbrook G.D., Davis P.D., Parbrook E.O. Basic physics and measurement in anaesthesia. Oxford: Butterworth-Heinemann, 1995.

Ward C., editor. Ward’s Anaesthetic Equipment, ed 5, London: WB Saunders, 2005.